模具設計基礎如何設計沖床下料凸模?
2022/6/29 10:00:22 點擊:
沖孔機落料沖頭范圍從用于制造時鐘和樂器零件的小型部件到用于落料零件(如汽車擋泥板、車門和頂蓋)的大型多單元部件。所生產坯料的尺寸決定了所用沖床的類型
設計考慮因素包括:
穩定性和防止偏轉
足夠的螺釘來克服剝離載荷
良好的定位方法以實現精確定位
如有必要,切片以進行適當的熱處理
下圖顯示了將沖裁模應用于小型、中型和大型切割模的各種方法。它包括一些預防措施,例如鎖定沖床的鍵以防止其旋轉,使用插入件以方便且經濟地更換,使用切屑促進熱處理并將變形降至最低,使用切屑刀具以防止毛坯粘在沖床上,以及合適的沖裁沖頭比例和結構
沖裁沖頭的應用: 小型沖裁沖頭
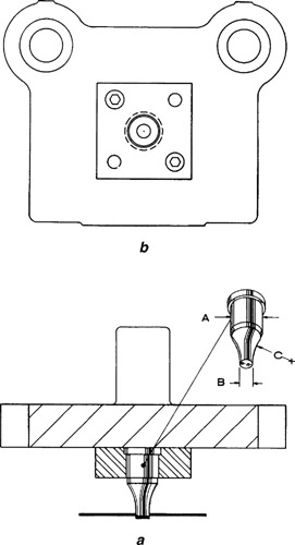
圖1顯示了小型儀表墊片使用沖裁沖頭的方法
沖裁沖頭

圖1:小型墊圈使用沖裁沖頭的方法
主體直徑a遠大于沖裁直徑B;半徑C提供支撐材料,以提供剛性,并防止沖頭在接觸材料帶時發生偏轉。剖面圖a顯示了沖頭、沖頭板和沖頭支架,它們將出現在整個模具圖紙的左下剖面圖中。
設計考慮因素包括:
穩定性和防止偏轉
足夠的螺釘來克服剝離載荷
良好的定位方法以實現精確定位
如有必要,切片以進行適當的熱處理
下圖顯示了將沖裁模應用于小型、中型和大型切割模的各種方法。它包括一些預防措施,例如鎖定沖床的鍵以防止其旋轉,使用插入件以方便且經濟地更換,使用切屑促進熱處理并將變形降至最低,使用切屑刀具以防止毛坯粘在沖床上,以及合適的沖裁沖頭比例和結構
沖裁沖頭的應用: 小型沖裁沖頭
圖1顯示了小型儀表墊片使用沖裁沖頭的方法
沖裁沖頭

圖1:小型墊圈使用沖裁沖頭的方法
- 上一篇:CNC金屬沖壓-定制管材沖孔機 2022/7/5
- 下一篇:不銹鋼防盜網專用高速液壓沖孔機 2015/4/2


